
De Hogeschool Utrecht heeft dit jaar een belangrijke stap gezet door voor de derdejaars studenten over te stappen naar het geavanceerde Beckhoff plc platform. Deze overgang markeert een vooruitgang in de technologische benadering en biedt de studenten de kans om hun vaardigheden te ontwikkelen binnen een moderner en robuuster systeem.
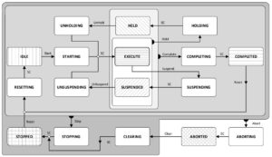
Als onderdeel van deze overgang hebben de studenten de opdracht gekregen om een snoeplijn te automatiseren. Deze opdracht wordt benaderd volgens een gestructureerde methode gebaseerd op het Pack-ML lagenmodel, zoals dit binnen Gain Automation Technology BV wordt toegepast. Het Pack-ML lagenmodel biedt een consistente en gestandaardiseerde aanpak voor automatiseringsprojecten, waardoor de studenten waardevolle ervaring opdoen die hen kan helpen bij hun verdere loopbaan.
Tijdens de opleiding elektrotechniek komen de Pack-ML standaard en Twincat aan de orde. Marco Conrads, Technical Manager bij Gain Automation Technology BV, heeft twee workshopmiddagen bij de Hogeschool georganiseerd waarin hij heeft toegelicht hoe we binnen Gain gestructureerd programmeren aanpakken. Hierbij heeft hij concrete voorbeelden gegeven en de studenten actief betrokken bij het ontwikkelen van software voor een motor volgens een gestructureerde methode gebaseerd op OOP en UML.
Tijdens de eerste workshop hebben de studenten de opdracht gekregen om een model volgens de Pack-ML standaard te ontwikkelen voor de snoeplijn. In de tweede sessie hebben ze gezamenlijk de ontwerpen besproken, waardoor de studenten waardevolle feedback hebben ontvangen om hun ontwerpen verder te verfijnen.
Deze aanpak stelt de studenten in staat om niet alleen technische vaardigheden te ontwikkelen, maar ook om bekend te raken met standaarden en best practices in industriële automatisering.

geplaatst: maart 2024
Heeft dit bericht je geïnspireerd?
Wil je werken bij Gain of weten of wij ook jou kunnen helpen bij jouw verbetertraject? Neem gerust contact met ons op.



